皇冠信用网在线注册_2023年社工新考生考试报名注册及学历在线核验流程?
皇冠信用网代理注册9990088.com—)开会员号,占成\登3代理\皇冠皇冠信用网_(招登1登2平台出租2023年的社工考试定于6月10、11日举行,社工考试报名将于3-4月开启,对于计划参加此次考试的新考生,应及早注册及完善学历信息皇冠信用网在线注册。
考试报名前,小羊提醒大家先完成这三步:账号注册,照片上传,学历核验皇冠信用网在线注册。
尤其学历核验需24小时才能通过审核,所以提前完成这些步骤很有必要,届时报名通道开启,就直接可以报名啦皇冠信用网在线注册。

01新用户账号注册操作流程
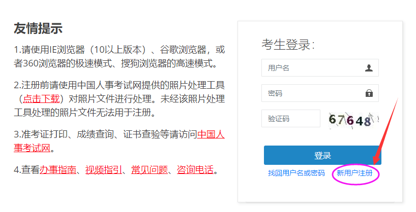
1、进入中国人事考试网皇冠信用网在线注册,选择【网上报名入口】进入登录页面,点击【新用户注册】

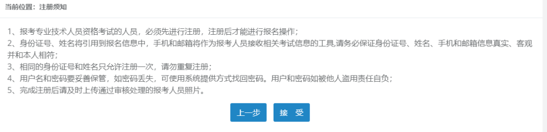
2、接受【专业技术人员资格考试网上报名协议】——查看【注册须知】

展开全文
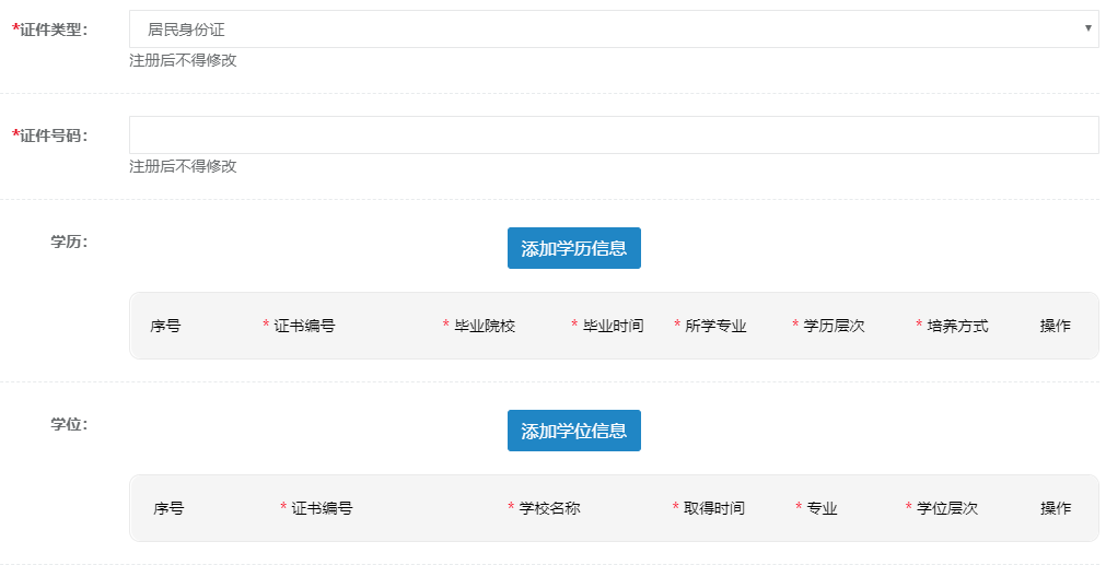
3、填写注册信息皇冠信用网在线注册。其中带*号的是必填项;证件号码,可以选择使用身份证、军官证、护照或港澳台居民身份证进行注册。其中一定要牢记邮箱和密码找回问题,以便找回密码。


4、填写完毕确认无误后点击【提交】,出现信息确认,需要考生重新输入姓名、证件号码进行确认皇冠信用网在线注册。点击【确定】后,提示“注册成功”,再点击【确定】,系统自动返回考生登录界面,填写用户名、密码、验证码后即可登录系统。
重要提示:
(1)一个身份证号和姓名只能注册一次皇冠信用网在线注册,请勿重复注册
(2)确保身份证号、姓名、邮箱和手机信息完整准确
(3)牢记用户名和密码皇冠信用网在线注册,丢失或忘记后用下面方法找回
(4)如姓名中有生僻字无法输入,可以使用同音字加中括号代替皇冠信用网在线注册。
02报名考生学历在线核验步骤
一、新考生皇冠信用网在线注册,未注册账号人员
打开“全国专业技术人员资格考试报名服务平台”,未注册账号,请先点击注册,注册时填写学历信息皇冠信用网在线注册。

二、老考生或已注册账户人员
请直接点击登录,再点击右侧的学历学位信息维护皇冠信用网在线注册。(注意:没有学位,可以不填写学位信息。如果毕业证书不在身边,可以在学信网中查看你自己的“教育部学历证书电子注册备案表 ”,上面有证书编号的。)

注意事项
核验结果查看
核验结果查看:在线核验结果一般在24小时后可以查看核验状态皇冠信用网在线注册。查看方式如下:1.登录报名系统,点击右上角“注册维护”,进入页面后点击“修改学历”。如下图所示

猜你喜欢
- 2025-10-25皇冠皇冠代理平台_意甲-莱奥破门夸德拉多点射 米兰2-2绝平比萨先赛以2分领跑
- 2025-10-24皇冠信用网出租_荷兰高层约见中方,但拒绝归还中企管理权,信号不简单
- 2025-10-23皇冠信用网_安世中国:荷兰总部相关决定在中国境内不具备法律效力,张秋明职务身份保持不变
- 2025-10-23皇冠信用網代理_迟迟没等来北京贺电,高市早苗对中国称呼有变,率先发出见面邀请
- 2025-10-23皇冠代理登1租用_郑丽文人间清醒:如果去大陆,能见到谁不重要,重要的是代表谁去
- 2025-10-23皇冠信用網如何开户_外媒:美国政府停摆,B-21轰炸机“迫降”
- 2025-10-22皇冠信用网登2代理_巨头突然宣布:关闭在中国的首家工厂!
- 2025-10-22皇冠皇冠信用网平台_湖南湘潭一女生骑车闯红灯,骨折、肝破裂…
- 2025-10-22皇冠皇冠信用网平台_库里23分东契奇43+12+9 巴特勒31+5勇士胜湖人
- 2025-10-22如何代理皇冠信用网_阿尔特塔:为约克雷斯高兴他配得上进球 斯凯利的特点就是推进
- 2025-10-21皇冠信用网怎么开通_石破茂卸任当天,离开官邸时笑得合不拢嘴;此前吐槽当首相太累,没多少让人开心的事情
- 2025-10-21皇冠信用网会员开户_刚宣布!万亿A股巨头,大手笔分红!



网友评论